Cầu chì là một thiết bị điện đã không còn quá xa lạ với mỗi chúng ta. Những mẫu cầu chi mới hiện nay ngoài chức năng ngắt điện nó còn đảm nhiệm nhiều vai trò quan trọng khách nữa trong việc bảo vệ hệ thống điện. Hôm nay, chúng ta sẽ cùng tìm hiểu cấu tạo và phân loại cũng như những chắc năng mới của thiết bị này.
Cấu tạo và phân loại cầu chì
Phân loại, cấu tạo
Dựa vào kết cấu, có thể chia cầu chì thành các loại: cầu chì kiểu hở, kiểu ống không có chất độn, kiểu ống có chất độn và cầu chì có bộ phận dập tát hồ quang tự sinh khí. Tùy theo điện áp mà có thể dùng loại cầu chì này hay cầu chì khác. Sau đây giới thiệu một số loại cầu chì thường gặp.
Cầu chì dưới 1000V
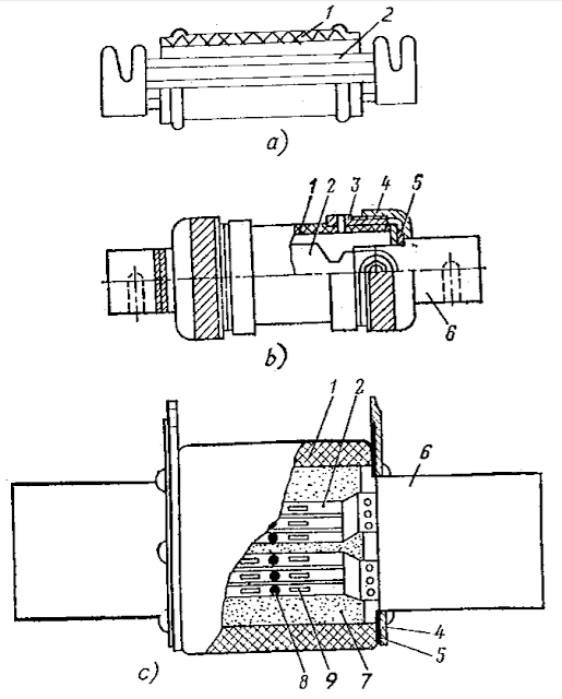
Cầu chì điện áp dưới 1000V 1-vỏ; 2-dây chảy; 3-ống bọc; 4-nắp; 5-miếng đệm; 6-đầu nối với mạch điện; 7-chất độn; 8-viên thiếc; 9-rãnh.
Ở điện áp này dùng cầu chì kiểu hở, kiểu ống không chất độn và kiểu ống có chất độn.
Cầu chì kiểu hở (hình a) không có vỏ, có kết cấu đơn giản, hồ quang được dập tắt trong không khí, chỉ dùng cho mạch công suất không lớn. Cấu tạo gồm vỏ sứ 1, dây chảy 2 nhiều sợi song song và đầu nối với mạch điện 6.
Cầu chì kiểu ống không chất độn (hình b) dùng cho điện áp 220 ÷ 500V, dòng từ 15 ÷ 1000A, dòng cắt 1200-2000A. Cấu tạo gồm ống phíp 1, ống bọc 3, nắp 4, dòng chạy 2 và đầu nối với mạch điện 6. Để đầu nối không bị quay dùng miếng đệm 5 có rãnh. Dây chảy làm bằng thiếc có thiết diện thay đổi. Khi chảy, phần có thiết diện nhỏ bị đứt ra trước.
Cầu chì kiểu ống cổ chất độn (hình c) dùng cho điện áp xoay chiều 500V trở lại và điện áp một chiều 440V, dòng định mức 100-600A. Cấu tạo loại cầu chỉ này như cầu chì ống không chất độn nhưng khác ở chỗ là trong vỏ chứa đầy cát thạch anh 7 là chất độn dập tát hồ quang. Khi hồ quang cháy, dây chảy bi chảy tạo khí và hồ quang bị dập tắt. Dây chảy làm bằng đồng với các rãnh 9. Để giảm nhiệt độ chảy người ta còn gán các viên thiếc 8 ở giữa dây chảy.
Cầu chì trên 1000V
Cầu chì kiểu ống có chất độn điện cao áp a, Dòng dưới 7,5A; b, Dòng trên 7,5A 1-nắp đáy; 2-nắp ngoài; 3-ống sứ; 4-cát thạch anh; 5-dây chảy; 6-viên thiếc; 7-chỉ thị tình trạng cầu chì
Ở điện áp này dùng cầu chì kiểu ống có chát độn và cầu chi có bộ phận dập tắt hồ quang tự sinh khí.
Cầu chỉ kiểu ống có chất độn ở điện áp cao (3 ÷ 35kV) cổ các dây chảy là các sợi bằng đồng hay bằng bạc (Hình trên). Để đảm bảo dập tát hồ quang, dây chảy phải dài, thiết diện nhỏ quấn trên trục sứ (hình a) hay quấn kỉếu lò xo (hình b). Trên dây chảy, có gắn các viên thiếc. Nguyên lý làm việc của cầu chì ở điện áp này như cầu chì cùng loại ở cấp điện áp dưới 1000V.
Cầu chì có bộ phận dập hồ quang bằng chất tự sinh khí (hình trên) dùng cho điện áp 10kV và cao hơn. Phần chính của cầu chì là ống tự sinh khí A, phía trong là các dây chảy bằng đồng 4 nối với dây dẫn mềm 3 và đầu tiếp xức 1. Thanh thép 5 cùng với lò xo để làm căng dây mềm 3 (Hình b). Bố trí cầu chì trên sứ như (hình a). Trên sứ đế 6 có dao 7. Ở đó có lò so xoắn để có thể kéo dao 7 tới vị trí 7′. Dao 7 kẹp lấy cổ của đầu tiếp xúc 1. Khỉ ngắn mạch, trước hết dây chảy 4 chảy ra; dựới tác dụng của lò xo lưỡi dao 7 quay, kéo dây dẫn mềm 3, hồ quang xuất hiện nhưng bị thổi dọc theo ống do áp suất khí trong ống (1000 – 2000 N/cm2) rồi bị dập tắt.

Chức năng của cầu chì là gì?
Cầu chỉ dùng để bảo vệ mạch khi quá dòng. Bộ phận chủ yếu của cầu chì bao gồm dây chảy vả vỏ, cơ khí còn có cả bộ phận dập tắt hồ quang.
Nguyên lý làm việc của cầu chì là khi có dòng bình thường (từ định mức trở xuống), dây chảy không chảy ra nhưng khi có quá dòng, dây chảy phát nóng và chảy ra, hồ quang phát sinh rồi bị dập tắt, mạch điện bị ngắt. Quá dòng càng lớn thì cắt mạch càng nhanh. Quan hệ giữa thời gian cắt mạch của cầu chì và dòng qua nó gọi là đặc tính bảo vệ của cầu chì (hình dưới). Nếu chỉ xét thời gian chảy của dậy chảy thì có đặc tính chảy của cầu chì chênh lệch thời gian giữ đặc tính chảy và đặc tính bảo vệ của cầu chì chính là thời gian dập tắt hồ quang.
Đặc tính chảy và đặc tính bảo vệ
Trên hình cho thấy rằng khi I = Iđm thì thời gian chảy cầu chì t = ∞, tức là cầu chì không bị chảy và cầu chì bị chảy khi cđ quá dòng (I > Iđm).
Các thông số chính của thiết bị đóng cắt này bao gồm điện áp định mức Uđm dòng định mức Iđm và dòng cất định mức Icđm
Để làm dây chảy của cầu chì, người ta dùng các kim loại khác nhau như chì, kẽm, nhôm, đồng, bạc, hợp kim của thiếc v.v.. Chì, kẽm và hợp kìm của thiếc có nhiệt độ nóng chảy thấp (327°C, 420°C và 200°C tương ứng), điện trở suất lớn nên thiết diện dây cháy lớn do đó chỉ dùng cho điện áp 500V trở lại. Khi điện áp từ 1000V trở lên dùng chì, kẽm và hợp kim của thiếc làm dây chảy không tốt vì thiết diện cửa nó lớn nên dập hồ quang khó
Khi đó nên dùng dây chảy bằng đồng hoặc nhôm. Chúng có nhiệt độ nóng chảy cao hơn (1080°C và 960°C tương ứng), điện trở suất nhỏ, nên thiết diện nhỏ, thuận lợi cho dập hồ quang.
Vỏ cầu chì làm bằng các chất cách điện như sứ, thủy tỉnh, phíp,… Cầu chì cđ ưu điểm là rẻ, đơn giản, kích thước nhỏ, có thể cắt dòng lớn không hạn chế; nhưng có độ nhạỵ kém, có thể cắt theo pha và phải thay thế mỗi lần cầu chì chảy. Trong một số trường hợp do cắt nhanh cầu chì có thể hạn chế được dòng ngắn mạch (cắt mạch nhanh trước khi dòng ngán mạch kịp đạt đến giá trị cực đại).
Cầu chì là một thiết bị cực kì quan trọng bắt buộc phải có trong mỗi hệ thống điện hiện nay. Vì vậy hiểu rõ được nó cũng giúp bạn phần nào trong việc lựa chọn một sản phẩm phù hợp nhất cho mình trong quá trình sử dụng.




0 Nhận xét